你的位置: 首页 > 电工知识
继电器

中间继电器的结构和工作原理

中间继电器的结构和工作原理

发布时间:2016-11-05 | 评论:0 | 浏览:32 | 作者:admin

继电器

继电器种类

继电器种类

发布时间:2016-11-05 | 评论:0 | 浏览:31 | 作者:admin

继电器

热继电器符号_热继电器电气符号-热继电器的作用

热继电器符号_热继电器电气符号-热继电器的作用

发布时间:2016-11-05 | 评论:0 | 浏览:47 | 作者:admin

继电器

时间继电器符号

时间继电器符号

发布时间:2016-11-05 | 评论:0 | 浏览:36 | 作者:admin

继电器

热继电器接线图

热继电器接线图

发布时间:2016-11-05 | 评论:0 | 浏览:30 | 作者:admin

继电器

热继电器选型原则和注意事项

热继电器选型原则和注意事项

发布时间:2016-11-05 | 评论:0 | 浏览:29 | 作者:admin

继电器

继电器驱动电路

继电器驱动电路

发布时间:2016-11-05 | 评论:0 | 浏览:32 | 作者:admin

继电器

热继电器型号

热继电器型号

发布时间:2016-11-05 | 评论:0 | 浏览:35 | 作者:admin

继电器

热继电器选用注意事项

热继电器选用注意事项

发布时间:2016-11-05 | 评论:0 | 浏览:37 | 作者:admin

继电器

消除继电器接点火花的方法

消除继电器接点火花的方法

发布时间:2016-11-05 | 评论:0 | 浏览:49 | 作者:admin

继电器

热继电器安装

热继电器安装

发布时间:2016-11-05 | 评论:0 | 浏览:34 | 作者:admin

继电器

热继电器维护过程中的注意事项

热继电器维护过程中的注意事项

发布时间:2016-11-05 | 评论:0 | 浏览:31 | 作者:admin

继电器

继电器共通安全注意事项

继电器共通安全注意事项

发布时间:2016-11-05 | 评论:0 | 浏览:30 | 作者:admin

继电器

安全继电器的接线原理

安全继电器的接线原理

发布时间:2016-11-05 | 评论:0 | 浏览:28 | 作者:admin

继电器

继电器安装注意事项

继电器安装注意事项

发布时间:2016-11-05 | 评论:0 | 浏览:31 | 作者:admin

继电器

继电器的作用是什么?

继电器的作用是什么?

发布时间:2016-11-05 | 评论:0 | 浏览:36 | 作者:admin

继电器

继电器的种类

继电器的种类

发布时间:2016-11-05 | 评论:0 | 浏览:37 | 作者:admin

继电器

怎么选择热继电器

怎么选择热继电器

发布时间:2016-11-05 | 评论:0 | 浏览:34 | 作者:admin

断路器

高压断路器电磁操作机构的检查项目及故障处理方法

高压断路器电磁操作机构的检查项目及故障处理方法

发布时间:2016-11-05 | 评论:0 | 浏览:33 | 作者:admin

断路器

使用和维护高压开关手动操作机构的注意事项

使用和维护高压开关手动操作机构的注意事项

发布时间:2016-11-05 | 评论:0 | 浏览:26 | 作者:admin

断路器

电动操作的低压断路器合闸失灵的检查项目及处理方法

电动操作的低压断路器合闸失灵的检查项目及处理方法

发布时间:2016-11-05 | 评论:0 | 浏览:42 | 作者:admin

断路器

手动操作的低压断路器合闸失灵的检查项目及处理方法

手动操作的低压断路器合闸失灵的检查项目及处理方法

发布时间:2016-11-05 | 评论:0 | 浏览:34 | 作者:admin

断路器

断路器符号及意义

断路器符号及意义

发布时间:2016-11-05 | 评论:0 | 浏览:46 | 作者:admin

断路器

真空断路器维护与检查

真空断路器维护与检查

发布时间:2016-11-05 | 评论:0 | 浏览:22 | 作者:admin

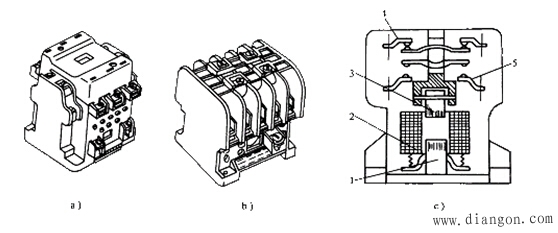
接触器

交流接触器的结构和工作原理

交流接触器的结构和工作原理

发布时间:2016-11-05 | 评论:0 | 浏览:45 | 作者:admin

 3901   首页 上一页 105 106 107 108 109 110 111 112 113 114 115 116 下一页 尾页