2018-09-22 17:18:16 |
人围观 |
评论:
-
1、并行分支结构
并行分支结构是指同时处理多个程序流程。图中当S20步被激活成为活动步后,若转换条件X0成立就同时执行左、中、右三支程序。
S50为汇合状态,由S22、S32、S42三个状态共同驱动,当这三个状态都成为活动步且转换条件X4成立时,汇合转换成S50步。
2、并行性分支、汇合的编程
编程原则是先集中处理分支转移情况,然后依顺序进行各分支程序处理,最后集中处理汇合状态,见图所示,根据步近梯形图可以写出指令表程序。

图 并行分支结构状态转移图及其编程
3、并行性分支结构编程的注意事项
(1)并行分支结构的汇合最多能实现8个分支的汇合。
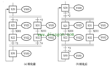
(2)在并行分支、汇合处不允许有下图(a)的转移条件,而必须将其转化为下图(b)后,再进行编程。

图 并行分支转化
-