你的位置: 首页 > 电工配件 > 步进伺服

交流伺服电机原理及原理图

2016-11-26 10:48:00 | 人围观 | 评论:

交流伺服电动机原理

伺服电机内部的转子是永磁铁,驱动器控制的U/V/W 三相电形成电磁场,转子在此磁场的作用下转动,同时电机自带的编码器反馈信号给驱动器,驱动器根据反馈值与目标值进行比较,调整转子转动的角度。伺服电机的精度决定于编码器的精度(线数)。

交流伺服电动机定子的构造基本上与电容分相式单相异步电动机相似,如图1 所示。其定子上装有两个位置互差90°的绕组,一个是励磁绕组Rf,它始终接在交流电压Uf 上;另一个是控制绕组L,联接控制信号电压Uc。所以交流伺服电动机又称两个伺服电动机。

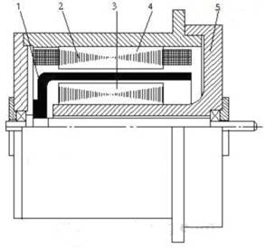
交流伺服电动机的转子通常做成鼠笼式,但为了使伺服电动机具有较宽的调速范围、线性的机械特性,无“自转”现象和快速响应的性能,它与普通电动机相比,应具有转子电阻大和转动惯量小这两个特点。目前应用较多的转子结构有两种形式:一种是采用高电阻率的导电材料做成的高电阻率导条的鼠笼转子,为了减小转子的转动惯量,转子做得细长;另一种是采用铝合金制成的空心杯形转子,杯壁很薄,仅0.2-0.3mm,为了减小磁路的磁阻,要在空心杯形转子内放置固定的内定子,如图2 所示。空心杯形转子的转动惯量很小,反应迅速,而且运转平稳,因此被广泛采用。


交流伺服电动机原理图

 

图1 交流伺服电动机原理图

图2 空心杯形转子伺服电动机结构

交流伺服电动机在没有控制电压时,定子内只有励磁绕组产生的脉动磁场,转子静止不动。当有控制电压时,定子内便产生一个旋转磁场,转子沿旋转磁场的方向旋转,在负载恒定的情况下,电动机的转速随控制电压的大小而变化,当控制电压的相位相反时,伺服电动机将反转。

交流伺服电动机的工作原理与分相式单相异步电动机虽然相似,但前者的转子电阻比后者大得多,所以伺服电动机与单机异步电动机相比,有三个显著特点:

1、起动转矩大

由于转子电阻大,其转矩特性曲线如图3中曲线1所示,与普通异步电动机的转矩特性曲线2相比,有明显的区别。它可使临界转差率S0>1,这样不仅使转矩特性(机械特性)更接近于线性,而且具有较大的起动转矩。因此,当定子一有控制电压,转子立即转动,即具有起动快、灵敏度高的特点。

图3 伺服电动机的转矩特性

2、运行范围较广

如图3 所示,较差率S 在0 到1 的范围内伺服电动机都能稳定运转。

3、无自转现象

正常运转的伺服电动机,只要失去控制电压,电机立即停止运转。当伺服电动机失去控制电压后,它处于单相运行状态,由于转子电阻大,定子中两个相反方向旋转的旋转磁场与转子作用所产生的两个转矩特性(T1-S1、T2-S2 曲线)以及合成转矩特性(T-S 曲线)如图4 所示,与普通的单相异步电动机的转矩特性(图中T′-S 曲线)不同。这时的合成转矩T 是制动转矩,从而使电动机迅速停止运转。

图4 伺服电动机单相运行时的转矩特性

图5 是伺服电动机单相运行时的机械特性曲线。负载一定时,控制电压Uc 愈高,转速也愈高,在控制电压一定时,负载增加,转速下降。

图5 伺服电动机的机械特性


交流伺服电动机的输出功率一般是0.1-100W。当电源频率为50Hz,电压有36V、110V、220、380V;当电源频率为400Hz,电压有20V、26V、36V、115V等多种。

不同类型的交流伺服电动机具有不同的特点。笼型转子交流伺服电动机具有励磁电流较小、体积较小、机械强度高等特点;但是低速运行不够平稳,有抖动现象。空心杯形转子交流伺服电动机具有结构简单、维护方便、转动惯量小、运行平滑、噪声小、没有无线电干扰、无抖动现象等优点;但是励磁电流较大,体积也较大,转子易变形,性能上不及直流伺服电动机。

交流伺服电动机运行平稳、噪音小。但控制特性是非线性,并且由于转子电阻大,损耗大,效率低,因此与同容量直流伺服电动机相比,体积大、重量重,所以只适用于0.5-100W的小功率自动控制系统中,频率有50Hz、400Hz 等多种。

笼型转子交流伺服电动机产品为SL 系列。空心杯形转子交流伺服电动机为SK 系列,用于要求运行平滑的系统中。





标签: