2016-10-30 15:05:33 | 人围观 | 评论:

图1给出了几种常用(不同封装形式)的LM317的外形及引脚排列图。
由于输出端(2脚)与调节输入端(3脚)之间的电压保持在1.25V,调整接在输出端与地之间的分压电阻R1和R2来改变ADJ端的电位,可以达到调节输出电压的目的,如图2所示,原理如下:
R1两端的1.25V恒定电压产生的恒定电流流过R1和R2,在R2上产生的电压加到ADJ端。此时,输出电压Vo取决于R1和R2的比值,当R2阻值增大时,输出电压升高,即:
Vo=1.25[(R1+R2)/R2]。

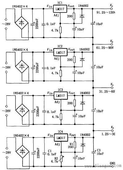
二、1.25-120V维修、实验电源
原理图见图3。电路由四块LM317组成,四组输出电势只通过R2进行调节。调节R2,IC4的输出电势在1.25-30V之间连续可变,同时,与之串联的IC1-IC3的输出电势也随之改变,从而得到1.25-120V间的四组直流稳定电压。

三、慢启动15V电源
原理图见图4。输出电压Vout通过R1、V1对C2充电。
开始时V1饱和导通,Vout最低(约1.5V)。随着C2上的电压升高,V1逐渐退出饱和并趋于截止,Vout逐渐升高至额定电压。改变R1、C2的常数可改变软启动的时间。D1用于关机后使C2上的电荷快速泄放。改变R2的值,可调整输出电压Vout的值,图示参数输出电压为15V。图中V1可用9012替换。

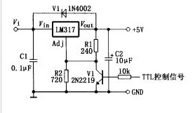
五、TTL电平控制的5V电源
原理图见图5。当外来的TTL控制信号使V1截止时,输出电压为5V。同样,改变R2使的值可获得不同的电压输出。V1可用9013等NPN管替换。

全站搜索