2016-10-21 15:29:03 | 人围观 | 评论:
1.黑白电视接收机
黑白全电视信号:由图像信号、复合同步、复合消隐、槽脉冲和均衡脉冲等叠加组成。
黑白电视机主要由公共通道、视频通道、伴音通道、扫描电路系统和电源电路几部分组成。
2.彩色电视机的组成框图。
1.彩色全电视信号:
与黑白电视信号比较,彩色全电视信号在图像信号方面,增加了携带彩色信息的色度信号;在辅助信号方面,增加了色同步信号。这使得彩色电视接收机的电路较黑白电视机更为复杂。
2.彩色电视接收机的任务
接收彩色电视信号,恢复出彩色画面和伴音,以地面波传输为例,见地面开路广播过程
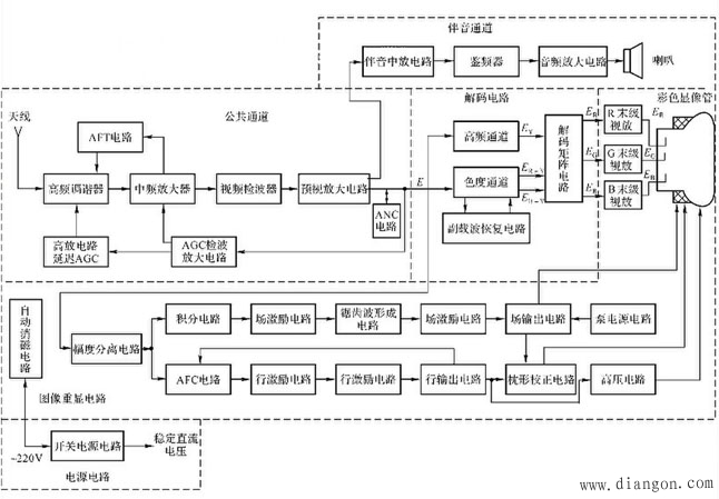
3.彩色接收机的框图
彩色电视接收机电路由:公共通道,伴音通道,电源电路,扫描电路,图像重现电路和解码电路组成。

图1 PAL制彩色电视接收机方框图
三、彩色全电视信号的分离
1.彩色全电视信号携带信息的信号包括:
1)图像的亮度信号,色度信号;
2)音频信号;
3)辅助信号:复合同步信号,复合消隐信号,色同步信号
它们在时域或频域上的不重合,可以将它们度分离开,从而提取相关信息。

图2 彩色电视信号各成分的分离
全站搜索