1、节流机构的作用及分类
1、作用
节流机构的作用是将冷凝器中冷凝压力下的饱和液体或过冷液体节流后降至蒸发压力和蒸发温度,同时根据负荷的变化,调节进入蒸发器制冷剂的流量。
2、分类
常用的节流机构主要有以下几种:手动节流阀、热力膨胀阀、电子膨胀阀、浮球节流阀、节流孔板、毛细管等。
2、热力膨胀阀
热力膨胀阀是应用最广的一种节流机构,热力膨胀阀是利用蒸发器出口制冷剂蒸气的过热度的变化来调节阀孔的开度大小,故适用于没有自由液面的蒸发器(如干式蒸发器、蛇管式蒸发器、蛇管式中间冷却器等)。
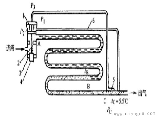
1、内平衡式热力膨胀阀

图1 内平衡式热力膨胀阀的结构
2、外平衡式热力膨胀阀
l)、结构如图2所示

图2 外平衡式热力膨胀阀的结构
2)、热力膨胀阀的安装
热力膨胀阀的安装正确与否,对膨胀阀的工作特性有很大的影响,因此必须要按正确的方法安装。其安装方法如下:
1、膨胀阀的位置应尽量靠近蒸发器,同时要使调节和维修均比较方便。
2、膨胀阀阀体应垂直安装。
3、膨胀阀箭头方向应与制冷剂的流动方向一致。
4、温包应直接捆扎在蒸发器的出口回气管上,接触部位要清洁、干净,外加不吸潮的保温材料绝热。感温包应装在不积液的吸气管上,当吸气管直径小于22 m m时,感温包应装在吸气管上部;当直径大于22 m m时,安装在水平下侧30℃。
3)、外平衡管应接至蒸发器出口处的水平管上方,以防被润滑油堵塞,同时接管应在感温包之后保持适当的位置。
3、 热电膨胀阀
它是利用热敏电阻的作用来调节蒸发器供液量的节流装置。
热敏电阻与膨胀阀膜片上的加热器串联,电热器的电热流随热敏电阻值的大小而变化。当蒸发器的出口制冷剂蒸气的过热度增加时,热敏电阻温度升高,电阻值降低,电加热器的电流增加,膜室内充注的液体被加热而温度增加,压力升高,推动膜片和阀杆下移,使阀孔开启或开大。当蒸发器的负荷减小,蒸发器出口蒸气的过热度减小或者变成湿蒸气时,热敏电阻被冷却,阀孔就关小或关闭。这样,热电膨胀阀可以控制蒸发器的供液量,使其与热负荷相适应。
4、毛细管
1)、毛细管的结构及原理? 毛细管是一根孔径很小,长度较长且多盘圈 状的紫铜管。一般为一根内径为0.5-1mm,外径为2-3mm,长度为2-4m的紫铜管,液态制冷剂通过它时会受到较大的阻力而产生压力降(犹如电流流过导体,因电阻而产生电压 一样),因而控制了制冷剂的流量和保持冷凝器与蒸发器的合理压力差。
2)、毛细管的作用?? 毛细管是电冰箱上的节流降压装置,位于冰箱的后下部。它的作用主要有两个是在压缩机运行中,保持蒸发器与冷凝器之间有一的压力差,从而使制冷剂在蒸发器中规定 的低压力状况下蒸发吸热,使冷凝器中的气态制冷剂在一的高压下冷凝放热;另一种功能是控制制冷剂的流量,使蒸发器保持合理的温度,以实现电冰箱安全、经济运行。
3)、毛细管的特点?? 毛细管节流具有结构简单、无运动零件、不易发生故障、停机后高低工压力逐渐平衡、易于启动等特点。可选用启动较小的驱动电机作制冷机的动力。但毛细管的自动调节范围小,而且不能人工调节,只适用于热负荷比较稳定的家用电冰箱等制冷系统中。
全站搜索