你的位置: 首页 > 电工知识 > 继电器

电磁型继电器的组成与工作原理

2016-12-19 18:14:57 | 人围观 | 评论:

    本文将要学习电磁型继电器的组成与工作原理,从而运用到电流互感器和电压互感器中并了解其功能。
    一、电磁型继电器的组成与工作原理
    通过图示介绍电磁型继电器的组成,初步认识电磁型继电器,并且通过讲解工作原理深入了解电磁继电器。
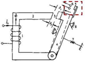
    1. 电磁型电流继电器的组成如下结构图所示:

 

 图1 电磁型电流继电器的组成结构图

     图中: 1-线圈 2-铁心 3-空气隙 4-被吸引的可动舌片 5-可动触点 6-固定触点 7-弹簧 8-止档
    2. 电磁型电流继电器的工作原理

 

 图2电磁转矩及反作用转矩与舌片行程关系

     图中:1-起动电磁转矩 2-起动时的反作用转矩 3-返回时的反作用转矩 4-返回时的电磁转矩
    说明:
    ①电磁吸力产生的电磁转矩与磁通的平方成正比;
    ②正常情况下,线圈中流入负荷电流,为保证继电器不动作,可动舌片受弹簧7反作用力的控制而保持在原始位置,此时弹簧产生的力矩称为初拉力矩。由于弹簧的张力与其伸长成正比,则舌片向左移动,弹簧产生反抗力矩=初拉力矩+空隙变化的比例;
    ③舌片转动过程中,必须克服由磨擦力所产生的磨擦转矩,可认为是常数,所以阻碍继电器动作的全部机械反抗转矩就是:磨擦转矩 + 反抗力矩;
    ④动作条件:
    为使继电器动作并闭合其触点,就必须增大电流,以增大电磁转矩,动作条件是:电磁转矩 ≥ 磨擦转矩 + 反抗力矩,满足上述条件使继电器动作的最小电流称为继电器的动作电流;
    ⑤返回原位:
    继电器动作后要返回原位置,必须减小电流以减小电磁转矩,然后由弹簧反作用力把舌片拉回来,继电器返回条件:电磁转矩 ≤ 反抗力矩 + 磨擦转矩。
    二、电流互感器
    将一次系统的大电流准确地变换为适合二次系统使用的小电流(额定值为1A或5A),以便继电保护装置或仪表用于测量电流。并将一次、二次设备安全隔离,使高、低压回路不存在电的联系。
    电流互感器在电路图中的文字符号为TA。电流互感器由铁芯及绕组组成,原方绕组和副方绕组通过一个共同的铁芯进行互感耦合。

 图3 电流互感器的等值回路

 

 图4 电流互感器的向量图

     三、电压互感器
    将一次系统的高电压准确地变换为适合二次系统使用的低电压(额定值为100V等)。并将一次、二次设备安全隔离,以保障二次设备和工作人员的安全。电压互感器在电路图中的文字符号为TV。
    (1)电磁式电压互感器
    (2)电容式电压互感器

 

 图5 电压互感器的等值电路

 

图6 电压互感器的相量图





标签: