2017-01-11 11:44:48 | 人围观 | 评论:

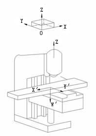
Z坐标轴:平行于机床主轴的方向。
X坐标轴:水平方向,面向立柱向右。
Y坐标轴:右手笛卡尔坐标系判定。
刀具远离工件的方向为正方向(注意:假设工件静止不动)。
3)机床坐标系与工件坐标系
(1)机床坐标系与机床原点
机床零点是由机床制造者规定的机械原点。
机床坐标系是定位于机床上以机床零点为基准的笛卡尔坐标系。
机床坐标系的原点称为机床坐标原点。
(2)工件坐标系与工件原点
工件坐标系是定位于工件上的笛卡尔坐标系。
工件坐标系的原点称为工件坐标原点。
(3)机床参考点
数控机床参考点是数控机床厂家设定在机床上的一个固定点,一般为机床各坐标轴的正极限位置,通过机床正确返回参考点,数控系统才能确定机床的原点位置,从而正确建立机床坐标系。
5、加工程序结构与格式
1)加工程序的构成
一个完整的加工程序由若干程序段组成,程序的开头是程序名,结束时写有程序结束指令。

2)程序段格式
字地址程序段格式,即可变程序段格式。

3)主程序和子程序
数控加工程序可由主程序和子程序组成。在执行主程序的过程中,如需要可调用子程序,并可多次重复调用。

Z坐标轴:平行于机床主轴的方向。
X坐标轴:水平方向,垂直于Z坐标轴。
刀具远离工件的方向为正方向。



全站搜索