你的位置: 首页 > 机械维修 > 机床

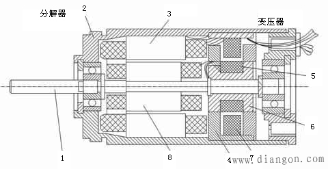
旋转变压器的结构图解

2017-02-03 16:18:44 | 人围观 | 评论:

旋转变压器由定子和转子组成,是一种旋转式的小型交流电机。

有刷旋转变压器定子、转子上两相绕组轴线分别相互垂直,转子绕组的引线(端点)经滑环引出,并通过电刷送到外面。

数控机床主要使用无刷旋转变压器,无刷旋转变压器具有输出信号大、可靠性高、寿命长及不用维修等优点。





标签: