2017-03-28 13:52:08 | 人围观 | 评论:

图1 主轴常用的几种滚动轴承的结构形式
1.主轴滚动轴承的配置
根据主轴部件的工作精度、刚度、温升和结构的复杂程度,合理配置轴承,可以提高主传动系统的精度。采用滚动轴承支承,有许多不同的配置形式,目前数控机床主轴轴承的配置主要有如图2所示的几种形式。

图2 数控机床主轴的配置形式
在图(a)所示的配置形式中,前支承采用双列短圆柱滚子轴承和60°角接触球轴承组合,承受径向载荷和轴向载荷,后支承采用成对角接触球轴承,这种配置可提高主轴的综合刚度,满足强力切削的要求,普遍应用于各类数控机床。在图(b)所示的配置形式中,前轴承采用角接触球轴承,由2~3个轴承组成一套,背靠背安装,承受径向载荷和轴向载荷,后支承采用双列短圆柱滚子轴承,这种配置适用于高速、重载的主轴部件,图(c)所示前后支承均采用成对角接触球轴承,以承受径向载荷和轴向载荷,这种配置适用于高速、轻载和精密的数控机床主轴。图(d)所示前支承采用双列圆锥滚子轴承,承受径向载荷和轴向载荷,后支承采用单列圆锥滚子轴承,这种配置可承受重载荷和较强的动载荷,安装与调整性能好,但主轴转速和精度的提高受到限制,适用于中等精度,低速与重载荷的数控机床主轴。
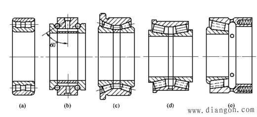
2.主轴滚动轴承的预紧
对主轴滚动轴承进行预紧和合理选择预紧量,可以提高主轴部件的回转精度、刚度和抗振性。滚动轴承间隙的调整或预紧,通常是通过轴承内、外圈的相对轴向移动来实现的。

图3 滚动轴承的预紧方法
(1)轴承内圈移动 这种方法适用于锥孔双列圆柱滚子轴承。用螺母通过套筒推动内圈在锥形轴颈上作轴向移动,使内圈变形胀大,在滚道上产生过盈,从而达到预紧的目的。图3所示为几种移动轴承内圈的预紧形式,图(a)结构简单,但预紧量不易控制,常用于轻载机床主轴部件。图(b)用右端螺母限制内圈的移动量,易于控制预紧量。图(c)在主轴凸缘上均布数个螺钉以调整内圈的移动量,调整方便,但是用几个螺钉调整,易使垫圈歪斜。图(d)将紧靠轴承右端的垫圈做成两个半环,可以径向取出,修磨其厚度可控制预紧量的大小,调整精度较高。调整螺母一般采用细牙螺纹,便于微量调整,而且在调好后要锁紧防松。
(2)修磨座圈 通过修磨轴承的内外座圈,可以调整轴承的预紧力。图4所示为两种修磨的形式。图 (a)为轴承外围宽边相对(背对背)安装,这时修磨轴承内圈的内侧,使间隙a增大;图(b)所示为外围窄边相对(面对面)安装,这时修磨轴承外圈的窄边。在安装时按图示的相对关系装配,并用螺母或法兰盖将两个轴承轴向压拢,使两个修磨过的端面贴紧,这样使两个轴承的滚道之间产生预紧。
(a)修磨轴承内圈的内侧

(b)修磨轴承外圈的内侧
图4 修磨轴承座圈
全站搜索