2016-10-24 13:03:35 | 人围观 | 评论:
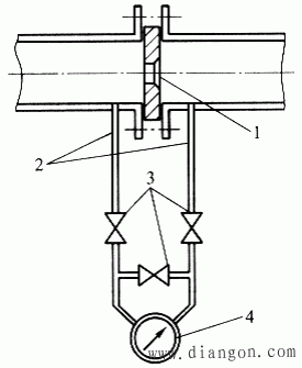
流式流量计是目前工业生产中用来测量液体、气体或蒸汽流量的最常用的一类流量仪表,其使用量占整个工业领域内流量计总数的一半以上。节流式流量计由节流元件、引压管路、三阀组和差压计组成,如图1所示。
节流式流量计的特点是:结构简单,使用寿命长,适应性较广,能够测量各种工况下的单相流体和高温、高压下的流体流量;发展早,应用历史长,有丰富、可靠的实验数据,标准节流装置的设计加工已标准化,无需标定就可在已知不确定度范围内进行流量测量。但安装要求严格;测量范围窄,一般量程比为3:1;压力损失较大,精度不够高(±1%~±2%)。
节流式流量计中产生差压的装置称节流装置,其主体是一个流通面积小于管道截面的局部收缩阻力件,称为节流元件。当流体流过节流元件时产生节流现象,在节流元件两侧形成压力差,在节流元件、测压位置、管道条件和流体参数

图1 节流式流量计组成
1-节流元件;2-引压管路;3-三阀组;4-差压计
一定的情况下,节流元件前后压力差的大小与流量有关。因此,可以通过测量节流元件前后的差压来测量流量。流体流经节流元件时的压力、速度变化情况如图2所示。从图中可见,稳定流动的流体沿水平管道流动到节流件前截面l之后,流束开始收缩,位于边缘处的流体向中心加速,流束中央的压力开始下降。由于流动有惯性,流束收缩到最小截面的位置不在节流件处,而在节流件后的截面2处(此位置随流量大小而变),此处的流速u2最大,压力P2最低。过截面2 后,流束逐渐扩大。在截面3处,流束充满管道,流体速度恢复到节流前的速度(u1= u3)。由于流体流经节流件时会产生漩涡及沿程的摩擦阻力等造成能量损失,因此压力P3不能恢复到原来的数值P1。P1与P3的差值δp称为流体流经节流件的压力损失。
流体压力沿管壁的变化和轴线上是不同的,在节流元件前由于节流元件对流体的阻碍,造成部分流体局部滞止,使管壁上流体静压比上游压力稍有增高。图2(b)中实线表示管壁上流体压力沿轴向的变化,虚线表示管道轴线上流体压力沿轴向的变化。
节流元件前后差压与流量之间的关系,即节流式流量计的流量方程可由伯努利方程和流动连续方程推出:设管道水平放置,对于截面l、2,由于Z1=Z2, 则有
(1)

图2 流体流经节流件时压力和流速变化情况
(2)
式中,P1、P2为截面1和2上流体的静压力;u1、u2为截面l和2上流体的平均流速;
ρ1、ρ2为截面l和2上流体的密度,对于不可压缩流体,ρ1=ρ2=ρ;D、
为截面1和2上流束直径。
由式(8-19)、(8-20)可求出
(3)
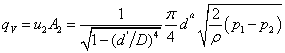
根据流量的定义,可得流量与差压的关系为体积流量
体积流量
(4)
质量流量
(5)
式中,A2为截面2上流束的截面积。
在推导上式时,未考虑压力损失压力δp,且截面2的位置是变化的,流束收缩后的最小截面直径
难以确定,而(P1-P2)是理论差压,不易测量;因此,在实际使用节流装置流量公式时,以节流元件的开孔直径d来代替
,并令直径比β=d/D;以实际采用的某种取压方式所得到的压差△p来代替(P1-P2)的值;同时引入流出系数C(或流量系数α)对上式进行修正,得到实际的流量公式
(6)
(7)
式中,α为流量系数
,E称为渐近速度系数,
。
对于可压缩流体,考虑到节流过程中流体密度的变化而引入流束膨胀系数ε进行修正,P采用节流元件前的流体密度,由此流量公式可更一般地表示为
(8)
(9)
式中,ε≤1。当用于不可压缩流体时,ε=1;用于可压缩流体时,ε<1。
流量系数α(或流出系数C)与节流件形式、取压方式、管道直径D、直径比β及流体雷诺数Re等因素有关,只能通过实验确定。实验证明,在一定的安装条件下,对于给定的节流装置,当如大于某一数值(称为界限雷诺数)时,α保持不变。因此,节流式流量计应工作在界限雷诺数之上。
流束膨胀系数ε也是一个影响因素十分复杂的参数。实验表明,e与雷诺数无关,对于给定的节流装置,L的数值主要取决于β、△p/p1。及被测介质的等熵指数k。
α和ε均可通过查阅图表求得。
全站搜索