2022-08-13 11:25:06 | 人围观 | 评论:
今天为大家介绍一项国家发明授权专利——基于压力检测的液位传感器。该专利由武汉飞恩微电子有限公司申请,并于2017年9月26日获得授权公告。
本发明涉及传感器技术领域,特别涉及一种基于压力检测的液位传感器。
目前工程车、商用车上燃油位置传感器类型大多为干簧管式或厚膜电阻式液位计,干簧管式液位计原理是利用铁氧体磁铁产生的磁场可控制干簧管触电的通断来控制接入电路的电阻,将被测液位的变化与电阻电压信号对应起来,这种检测原理决定了输出信号的不连续性并且测量精度也不高,同时结构存在相对滑动部件,长期可靠性存在问题。而厚膜电阻式液位计,包括电阻和滑动系统,通过滑动系统改变触点在电阻体上的位置,从而与液位对应起来,一方面工作过程中存在接触摩擦,使用寿命大幅减少;另一方面在复杂油品下容易因腐蚀引起短路,产生安全隐患,再者输出信号不能为后续仪表直接使用。
目前也有基于压力检测的液位传感器,如投入式静压液位传感器,这种投入式静压液位传感器都是基于单个压力芯片,通过检测液体底部的压力换算得到液体高度。芯片均为表压形式,参考压力一般通过传感器尾部粗信号线内部的空隙自然的导入大气。然而这种结构形式的封装体不适用于动态结构中的液位测量,并且由于参考压力为大气压,不能用于检测封闭腔体内的液体位置。如车用油箱,由于汽油的高挥发性,油箱均采用了一定的密封措施,这使得在使用过程中,油箱内油液上腔的压力与大气压存在±2Kpa的差异。
本发明公开一种基于压力检测的液位传感器,解决了现有传感器存在的弊端,不仅检测精度高稳定性好,同时克服了密封容器内液位检测的问题。
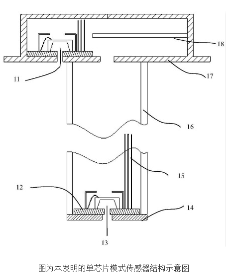
本发明的技术方案是这样实现的:基于压力检测的液位传感器,包括压力检测模块、外壳以及处理电路,其特点在于,所述压力检测模块可采用单芯片或双芯片模式,所述单芯片模式是将压力检测模块置于竖向信息管的一端,检测被测液体底部压力,同时将液面上腔作为参考压力。

所述双芯片模式是将两个压力检测模块分别置于竖向信息管的两端,分别检测液体底部和液面上腔的气压。所述压力检测模块包括具有引压孔的基板、扩散硅芯片以及电路,所述外壳包括安装法兰,竖向信息管以及贴片基座,所述竖向信息管为中空结构保证参考压力引导。
进一步的,所述单芯片模式是将压力检测模块通过耐水、耐油以及耐高温的胶水固定在所述贴片基座上;所述双芯片模式是将压力检测模分别固定在所述贴片基座和所述安装法兰内部。所述双芯片方案的参考压力保持一致,参考腔连通后形成密封腔或是均参考大气压力。所述压力检测模块中的具有引压孔基板材质是金属、塑料或陶瓷材料。
本发明的有益效果是,与现有技术相比,本发明的有益效果是提出的基于压力检测方案的液位计克服了干簧管式和厚膜电阻式液位计精度低、可靠性不高等缺陷,同时输出信号可直接为后续仪表使用。提出的单、双芯片方案均能运用与密闭腔内的液位检测,对于具有挥发性的液体,选用双芯片的方案可靠性更高。
全站搜索