2022-08-22 11:25:28 | 人围观 | 评论:
今天为大家介绍一项国家发明授权专利——一种组合式电能表。该专利由浙江永泰隆电子股份有限公司申请,并于2017年10月31日获得授权公告。
本实用新型涉及电能表技术领域,具体是涉及一种单组合式电能表。
电能表的发展是由感应式电能表到电子式电能表,而且随着科技发展,目前的电子式电能表已经向着多功能、数字化、网络化、智能化的方向发展。
申请号为200710053579 .8的中国发明专利申请公开了一种可模块化组装的电能表,其包括:一电力线接入模块,其包括相线接入组件和零线接入组件,其分别具有接入端和输出端,所述的相线接入组件的接入端与电力线中的相线相连接,所述的零线接组件的接入端与所述的电力线中的零线相连接;至少一个模块化电能计量器,所述的每一模块化电能计量器具有相线接入端和零线接入端以及相线输出端,用以计量每一用户电力线的相线接入端和零线接入端输出的电能值;所述的相线接入组件的输出端与所述的相线接入端相连接,所述的相线输出端与相线输出线相连;所述的零线接入组件的输出端与零线输出线相连接,所述的零线输出线的条数和相线输出线的条数分别与所述的模块化电能计量器个数相对应。该电能表虽然实现了模块化,但是其底座空间布局不合理,为了安置电表内部的主板、电源板导致电表壳的体积过大并笨重,安装时需要的空间也随之变化,安装时必须用螺丝固定电表下部,操作带来不便。
针对现有技术中存在的技术问题,本实用新型提供了一种组合式电能表,电能表具有主壳体和底板,主壳体与端钮盒组合件采用插入式装配方法组合装配,电能表采用导轨式安装,整体结构呈T型。这种单相导轨式多功能可更换端钮盒组合件来实现,是针对现有的单相电表为了实现功能壳体的变化而多加工的不足,它提供的一种设计更合理、结构更紧凑、安装更方便、可更换端钮盒组合件来实现功能的电能表,该电能表在整体结构和产品性能上优于现有产品。

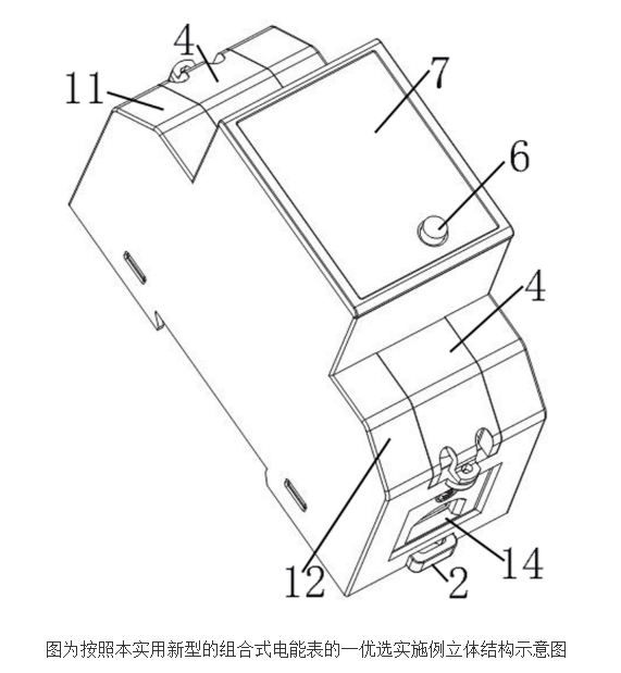
为了实现上述目的,本实用新型的技术方案是:一种组合式电能表,包括端钮盒组件、安装在主壳体内的主板和电源板、扣接在主壳体上的底板,所述主壳体为T形结构,主壳体具有上壳体和下壳体,所述上壳体具有上卡槽,所述下壳体具有下卡槽,所述端钮盒组件可拆卸地插入在主壳体的上卡槽和/或下卡槽内。
在上述任一技术方案中优选的是,在主壳体上设置有可拆卸的侧盖,数量为两个。两个侧盖分列处于所述主壳体的上壳体上和下壳体上。在侧盖上设置有与所述主壳体上的连接孔相互对应的通孔。所述端钮盒组件具有接线螺钉、接线端子、电流铜条、以太网接口、RS485、SIM卡插座。
在上述任一技术方案中优选的是,所述主壳体的开口处具有与所述底板上的凸台相互配合连接的接口。所述主壳体的顶部具有视窗,所述视窗采用板采用热熔注塑成形,所述主壳体与所述视窗采用二次注塑成形的一体式结构。所述视窗为透明视窗,视窗上配有翻页按钮、显示窗体及指示灯柱。所述主壳体采用ABS塑料或ABS塑料合金料制成。所述视窗采用透明的聚碳酸脂PC制成。所述底板的底部具有可容纳挂钩的凹槽。所述凹槽水平地开设在底板上。所述挂钩可活动的插入在所述凹槽内并可活动的进行调节插入在凹槽内的长度。在所述视窗的下部,主壳体内置入有铭牌,所述铭牌通过主板托住。
与现有技术相比本实用新型的优点在于:该电能表的端钮盒组件采用仪采用插入式装配方法进行组合装配,可随意插入所要实现功能要求的端钮盒组合件,其主壳体上可随功能意向实现集中器、采集器和计量。电能表整体整体呈T型,积木式装配组合。该电能表结构布局合理、功能全面、壳体整体体积小巧、外观美观新颖,可根据功能需要调配,可以省略模具加工并减低成本,产品安全性能高。
全站搜索