2022-08-24 11:25:06 | 人围观 | 评论:
今天为大家介绍一项国家发明授权专利——1500℃超高温阀门的水冷阀座结构。该专利兰州高压阀门有限公司申请,并于2017年10月17日获得授权公告。
本发明属于阀门制造技术领域,涉及一种用于超过金属熔化温度的超高温工况下的阀门中与介质接触的阀座的结构,具体指一种能满足1500℃超高温介质的具有水冷结构的阀座结构。
在800℃左右较低温度等级的高温阀门,国内外有完全采用非金属制作的阀门,但由于非金属材料的属性不能满足急冷急热及高压工况的要求;且非金属材料做阀座密封面时硬度较大,不能与阀瓣形成可靠的密封副。国内外还有采用水冷措施使阀门能正常工作的,但这样会使介质的热损失太大,会使阀门出口介质达不到试验的要求(水冷降温太快,高温介质温度被降得太多达不到实验要求), 因而不能被采用。根据目前国内外相关资料,在抗高温领域,没有能满足1500℃超高温高压高速工况下能安全工作的阀门。
本发明提供一种能在超过金属熔化温度的超高温工况下安全可靠运行的阀门的水冷阀座结构。

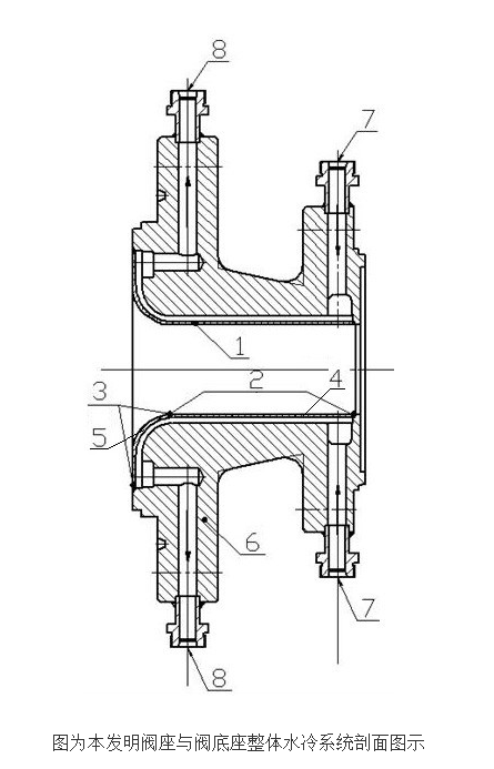
为此,所采用的技术方案为:一种1500℃超高温阀门的水冷阀座结构,包括阀座和阀底座,所述阀座由正常流道区域和阀座密封面区域组成,该正常流道区域的外周面均匀设置直槽道,在阀座密封面区域的外周面设置渐变槽道,该渐变槽道头部圆滑过渡连接所述直槽道末端后向尾部渐变扩大;所述阀座安装于阀底座上而使阀座外表面上的槽道密封形成水冷流道;所述阀底座上设有水冷进出口流道,该水冷进出口流道分别和水冷流道即直槽道头部和渐变槽道尾部贯通而形成阀座和阀底座之间独立的冷却水循环系统。
所述渐变槽道头部宽11 .6mm,尾部宽17 .2mm。所述水冷进口流道、水冷出口流道分别通过进口缓冲区、出口缓冲区和水冷流道即直槽道头部和渐变槽道尾部贯通。
所述阀底座底部外圆上均布若干进水口,而其上部外圆的同一侧设置和进水口等同数量的出水口。
本发明通过直槽道加渐变槽道结构,是一种能够满足超过金属熔化温度的超高温工况下阀座实现可靠密封的结构。在阀座密封面(即介质流速高,易形成缝隙流处)设计渐变槽道,该设计克服了密封面处过热面积大,密封面硬度降低等超高温工况的恶劣影响;使阀座密封面处形成了良好的散热效果,又使密封面的密封性能得到了可靠保障。当介质通过密封面进入到正常流道时,则采用槽道均布的直槽道结构,不仅保证了密封面的可靠密封,而且保证了超高温介质在流道内只有少量的热损。从而实现了热损失小、密封性能优越可靠的能满足1500℃超高温高压高速工况下能安全工作的阀门。
全站搜索