2022-09-06 11:25:10 | 人围观 | 评论:
今天为大家介绍一项国家发明授权专利——一种易拆卸分体式水表。该专利由江苏赛达电子科技有限公司申请,并于2017年8月1日获得授权公告。
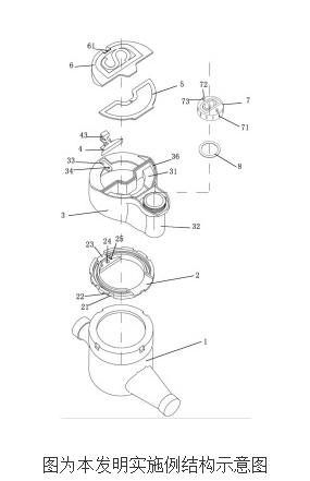
本发明涉及一种水表,特别是一种实现电子部件与水表机械主体快速安装和分离的易拆卸的分体式水表。
随着传感器技术、通讯技术的发展以及供水公司对水表精确计量和智能化管理的需求,智能水表也得到了普遍的发展。人们对智能水表的研究更多集中在如何更精确的计量以及更智能化的管理方面,在安装和维修的便捷性方面往往有所忽略。通过采用磁敏传感器技术,能够实现水表的机电分离,图1为现有的一款无线远传水表,但其在结构上存在如下不足:1、机械水表上方的电子元件壳体的结构部件较多,安装步骤多,整体需要用螺丝紧固在机械水表上,拆卸时可能需要破坏部分塑料件才能拧下螺丝。2、电池盒空间小,盒盖置于盒体中,更换电池需要专用工具,操作不方便。
针对上述技术问题,本发明通过简化电子元件壳体的结构部件以及与水表机械主体的连接方式,提供一种电子部件与水表机械主体分体式设计,便于为实现上述发明目的,本发明采用的技术方案如下:一种易拆卸分体式水表,包括水表机械主体、外壳和上盖,外壳上设有电子元件盒和电池盒,电子元件盒包括电子元件壳体和盖板,电池盒包括电池壳体和盖帽,所述水表还包括连接水表机械主体与外壳的连接件,所述连接件通过螺丝固定在水表机械主体的上方,所述外壳的内侧壁上设有卡扣,所述连接件的外侧壁上设有与卡扣匹配的卡槽。

进一步的,外壳与连接件之间通过设置限位件和螺丝固定装置来防止外壳轻易被拆卸,连接件上设有与限位件底部匹配第一凹槽,第一凹槽的底部设有螺母安装孔,外壳的内侧壁上设有一凸片,凸片上设有螺丝孔,外壳和连接件之间通过螺丝固定;限位件的底面设有凸点以及与凸片匹配的第二凹槽,第一凹槽的底面设有与凸点匹配的第三凹槽。
上盖活动安装在限位件的上部。在上盖上设两个圆柱,在限位件的上部设与圆柱匹配的圆形通槽,将两个圆柱分别卡入圆形通槽的两端,上盖即可以圆形通槽的轴向为轴翻转。为了便于更换电池,电池壳体沿垂直于水表表面方向设置,盖帽位于电池壳体的上方,电池壳体的上端外侧和盖帽内侧设有螺纹,电池壳体与盖帽螺纹连接。
安装时,将连接件通过螺丝固定在机械水表上,在连接件的螺母安装孔内放入螺母,外壳罩在连接件上,卡扣和卡槽对准后旋转使得卡扣与卡槽卡紧,用一个螺丝将外壳和连接件固定住,将限位件插入连接件上的第一凹槽中,对准限位件上的凸点和连接件上的第三凹槽下按限位件,再将上盖的两个圆柱插入限位件上部的圆形通槽的两端,完成安装。
电子部件维修更换时,先将上盖从限位件上取下,拔出限位件,拧开螺丝,旋转卸下外壳,整体更换成新的即可。若水表的上盖或限位件断裂,由于都是方便拆卸的配件,只需更换配件即可,无需整体更换。
与现有技术相比,本发明存在以下优点:1、简化电子元件壳体结构部件,采用卡扣连接方式与机械水表主体连接,实现了快速安装与维修更换。2、将卡扣和卡槽设置在电子元件壳体和连接件接触面最大的侧面,能够设置较大的卡扣和卡槽,提高了卡扣和连接的强度,且安装更方便。3、电子部件的配件少,整体成型,更换方便。4、电池盒竖向设置,盖帽外置,便于更换电池。
全站搜索