2022-09-09 11:25:10 | 人围观 | 评论:
今天为大家介绍一项国家发明授权专利——一种石油井下流量测量装置及测量方法。该专利由西安威盛电子科技股份有限公司申请,并于2017年8月1日获得授权公告。
本发明属于石油行业计量技术类,它具体涉及一种石油井下流量测量装置及测量方法,本发明所涉及一种石油井下流量测量方法及装置特别适用于竖井和大斜度井。
随着石油行业的高速发展,油田的开发和生产管理逐渐的向智能化管理发展,并得到了广发的推广和应用。井下流量控制技术是油田技术不可缺少的重要部分,它主要是通过在油井中下放流量控制器来完成作业。
常规石油井流量计测量装置主要有集流式流量计、涡轮流量计等。其主要工作原理是在涡轮轴的装有传感器,通过计量涡轮转动圈数方式进行计量油井内井液的流量测量方法。这种流量计技术相对成熟,计量精度较高,但其主要缺点是作业周期长,辅助设备复杂、投资大,易受油井井况影响测量精度。且适用于单井流量测量,在多井转场测量、变径套管井测量时,则存在明显不足,且需要较长时间才能达到稳定进行计量。
井下流量控制技术主要是解决油井开发中对井下流量数据的实时采集、监测和处理的问题,从而达到快速修改采油工艺,优化产层的产量,提高采收率的目的。现有的设备技术还不能满足实际生产的需要。
为克服现有技术的不足之处,本发明的目的是提供一种井下流量测量方法,以及利用这种方法制造出来的流量测量装置——流量测井仪,其具有结构简单、工作范围宽、测量精度高、性能稳定、能够实时采集井下流量数据,可实现定点、连续测量的特点。

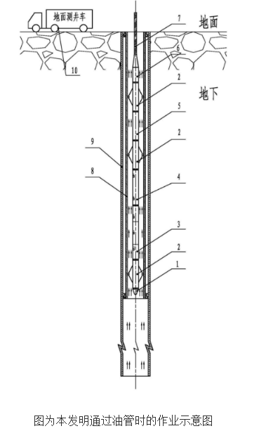
按照如上构思,本发明是通过如下的技术方案来实现上述目的的。一种石油井下流量测量装置,包括地面测井车,及通过电缆相连的设于井下套管套接油管中的仪器串,所述仪器串包括自上而下依次连接的马龙头、扶正器、磁定位短节、扶正器、压差密度仪、流量测井仪、扶正器和堵头实现上提施工作业。
所述流量测井仪内装有电路系统控制电机或液压驱动臂,控制电机或液压驱动臂和压差密度仪中分别设有静压力采样口,控制电机或液压驱动臂张开或闭合动作,实现石油井下流量测量。
进一步地,所述仪器串包括自上而下依次连接的马龙头、扶正器、磁定位短节、扶正器、流量测井仪、压差密度仪、扶正器和堵头实现下放施工作业。所述仪器串包括自上而下依次连接的马龙头、扶正器、磁定位短节、扶正器、流量测井仪、扶正器和堵头实现油井注水施工作业。所述流量测井仪中的控制电机或液压驱动臂中部设置有P4静压力采样口B,P4静压力采样口B设置在在套管与控制电机或液压驱动臂外径之间的环形截面积最小处;所述控制电机或液压驱动臂的上下两端对称设置有P3静压力采样口C和P5静压力采样口A。
进一步地,所述对称设置的P3静压力采样口C和P5静压力采样口A相对于控制电机或液压驱动臂的上下端距离相等且同方向布置。所述流量测井仪上端连接压差密度仪,在压差密度仪上的一定高度差Δh处分别设置有P1静压力取样口E和P2静压力取样口D,测出在井深H处的密度ρ;其中Δh≠0。
由于采用了上述技术方案,与现有技术相比,本发明具有以下优点:流量测井仪的臂是采用电路系统控制电机/液压的方式驱动,进行调节臂与套管之间的最小环形截面积,使流量测井仪的适用多种尺寸口径的油井;流量测井仪的臂可以闭合至仪器最大外径尺寸,是可以不经过起吊出油管,可直接将流量测井仪下放到待测位置进行测量。减少了施工工艺过程,大大的节约了作业成本和缩短作业时间;流量测井仪与油井套管之间形成环形过流截面积S,可进行通径/变径套管油井的连续/定点测量;该流量测井仪适用于竖井和大斜度井流量测量;该流量测井仪测量精度高。
全站搜索