2022-09-16 11:25:14 | 人围观 | 评论:
今天为大家介绍一项国家发明授权专利——一种智能显示感应水表。该专利由郑州单点科技软件有限公司申请,并于2017年7月18日获得授权公告。
本实用新型涉及一种智能显示感应水表,属于水表技术领域。
水表是测量水流量的仪表。大多是水的累计流量测量。一般分为容积式水表和速度式水表两类。前者的准确度较后者为高,但对水质要求高,水中含杂质时易被堵塞。记录自来水用水量的仪表,装在水管上,当用户放水时,表上指针或字轮转动指出通过的水量。智能水表是一种利用现代微电子技术、现代传感技术、智能IC卡技术对用水量进行计量并进行用水数据传递及结算交易的新型水表。现有的水表为提高使用寿命与准确度,均采用水流量检测传感器来实现测量,而采用智能控制器需要采用外接电源,其电源在使用时耗能高,导致能源的浪费。
针对上述问题,本实用新型要解决的技术问题是提供一种智能显示感应水表。
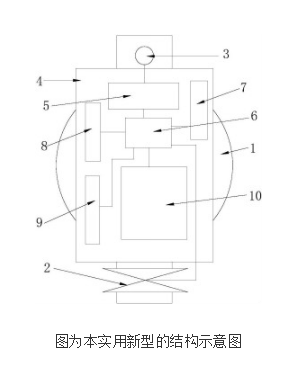
本实用新型的一种智能显示感应水表,它包含进水壳体、总控制阀、水流量检测传感器、电气壳、信号转换器、智能控制器、通讯模块、显示屏、电源模块、刷卡感应器、叶轮、发电机、密封圈;所述进水壳体上安装有进水管,所述进水管的进水口上安装有总控制阀,所述进水管的出水口上安装有水流量检测传感器,所述进水壳体的内部安装有叶轮,所述叶轮的转轴通过轴套与发电机的转轴连接,所述发电机的转轴通过密封圈安装在进水壳体上。

所述进水壳体的上端安装有电气壳,所述电气壳的内部分别安装有信号转换器、智能控制器、通讯模块、电源模块,所述电气壳上分别安装有显示屏、刷卡感应器;所述智能控制器的电源端与电源模块连接,所述发电机的输出端通过导线与电源模块的充电端电性连接,所述水流量检测传感器通过信号线与信号转换器电性连接,所述信号转换器、刷卡感应器均通过导线与智能控制器的输入端连接,所述智能控制器的输出端通过导线与总控制阀、显示屏连接,所述智能控制器的通讯端与通讯模块电性连接。
作为优选,所述刷卡感应器的外表面设置有感应标识层。所述显示屏为LED显示屏。与现有技术相比,本实用新型的有益效果为:便于实现能源的利用,能节省能源,使用方便,操作简便,工作效率高。
全站搜索