2022-09-22 11:25:04 | 人围观 | 评论:
今天为大家介绍一项国家发明授权专利——一种操作简单双层传输阀门。该专利由无锡乐华自动化科技有限公司申请,并于2017年6月20日获得授权公告。
本发明涉及一种阀门,尤其是一种操作简单双层传输阀门。
阀门是在流体系统中,用来控制流体的方向、压力、流量的装置是使配管和设备内的介质(液体、气体、粉末)流动或停止并能控制其流量的装置。
阀门是管路流体输送系统中控制部件,它是用来改变通路断面和介质流动方向,具有导流、截止、节流、止回、分流或溢流卸压等功能。用于流体控制的阀门,从最简单的截止阀到极为复杂的自控系统中所用的各种阀门,其品种和规格繁多, 阀门的公称通径从极微小的仪表阀大至通径达10m的工业管路用阀。可用于控制水、蒸汽、油品、气体、泥浆、各种腐蚀性介质、 液态金属和放射性流体等各种类型流体地流动 ,阀门的工作压力可从0 .0013MPa到1000MPa 的超高压,工作温度从-270℃的超低温到1430℃的高温。
现有技术在一定程度上对阀门可以起到控制流速的作用,但是所采用的装置复杂,控流效果不佳,不适合大范围推广。
本发明针对现有技术的不足,提供一种操作简单双层传输阀门,不仅结构结构,操作方便,而且能够有效的对流速进行控制,保证阀门的密封性。

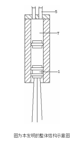
为了解决上述技术问题,本发明提供的技术方案为:一种操作简单双层传输阀门,所述阀门包括阀体和阀芯,所述阀体呈中空设置,所述阀芯可移动连接在阀体内部;所述阀芯包括第一活塞和导向柱,所述第一活塞连接在导向柱的顶端,所述第一活塞可移动连接在阀体内部,所述阀门还包括增压装置,所述增压装置通过第一弹性部件连接在阀体内部的顶端;所述增压装置包括导气管道、第二活塞和第二弹性部件,所述第二活塞通过第二弹性部件连接在导气管道内。
作为本发明的进一步优选,所述导气管道与第一活塞同轴设置在阀体内部,且与阀体内部两侧壁有间隙;所述导气管道的底部开设有梯形开口,所述第二活塞的底部顶压在梯形开口上;所述第一弹性件和第二弹性件均为弹簧;所述第一活塞和第二活塞上分别设有双层弹性胶圈;所述导气管道与阀体内部相邻的两侧分别开设有半圆形凹槽;所述半圆形凹槽内分别设有弹性胶球,所述弹性胶球的一半设置在半圆形凹槽内,另一半与阀体内侧壁相切;所述半圆形凹槽的直径与弹性胶球的直径大小一致;所述阀门的顶部设有两个进水口。
通过以上技术方案,相对于现有技术,本发明具有以下有益效果:本发明主要可以用在流体压力变化或者流速变化较为频繁的管道结构,能有对流体实现良好的缓冲,保证流体压力和流速的稳定;本发明的阀门包括增压装置,所述增压装置通过第一弹性部件连接在阀体内部的顶端;所述增压装置包括导气管道、第二活塞和第二弹性部件,所述第二活塞通过第二弹性部件连接在导气管道内;通过增压装置的设置,可以为一次进入的高压液体提供膨胀区间,从而降低一次液体流出时的压力,有效防止出压过高导致的各个管道接头的泄漏或者密封件的损坏。
全站搜索