2016-11-05 20:14:02 | 人围观 | 评论:
FX系列plc有基本逻辑指令20或27条、步进指令2条、功能指令100多条(不同系列有所不同)。本节以FX2N为例,介绍其基本逻辑指令和步进指令及其应用。
FX系列PLC的步进指令
1.步进指令(STL/RET)
步进指令是专为顺序控制而设计的指令。在工业控制领域许多的控制过程都可用顺序控制的方式来实现,使用步进指令实现顺序控制既方便实现又便于阅读修改。
FX2N中有两条步进指令:STL(步进触点指令)和RET(步进返回指令)。
STL和RET指令只有与状态器S配合才能具有步进功能。如STL S200表示状态常开触点,称为STL触点,它在梯形图中的符号为 ,它没有常闭触点。我们用每个状态器S记录一个工步,例STL S200有效(为ON),则进入S200表示的一步(类似于本步的总开关),开始执行本阶段该做的工作,并判断进入下一步的条件是否满足。一旦结束本步信号为ON,则关断S200进入下一步,如S201步。RET指令是用来复位STL指令的。执行RET后将重回母线,退出步进状态。
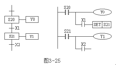
2.状态转移图
一个顺序控制过程可分为若干个阶段,也称为步或状态,每个状态都有不同的动作。当相邻两状态之间的转换条件得到满足时,就将实现转换,即由上一个状态转换到下一个状态执行。我们常用状态转移图(功能表图)描述这种顺序控制过程。如图1所示,用状态器S记录每个状态,X为转换条件。如当X1为ON时,则系统由S20状态转为S21状态。

图1 状态转移图与步进指令
状态转移图中的每一步包含三个内容:本步驱动的内容,转移条件及指令的转换目标。如图1中S20步驱动Y0,当X1有效为ON时,则系统由S20状态转为S21状态,X1即为转换条件,转换的目标为S21步。
3.步进指令的使用说明
1)STL触点是与左侧母线相连的常开触点,某STL触点接通,则对应的状态为活动步;
2)与STL触点相连的触点应用LD或LDI指令,只有执行完RET后才返回左侧母线;
3)STL触点可直接驱动或通过别的触点驱动Y、M、S、T等元件的线圈;
4)由于PLC只执行活动步对应的电路块,所以使用STL指令时允许双线圈输出(顺控程序在不同的步可多次驱动同一线圈);
5) STL触点驱动的电路块中不能使用MC和MCR指令,但可以用CJ指令;
6)在中断程序和子程序内,不能使用STL指令。
全站搜索