2017-03-03 14:57:55 | 人围观 | 评论:
光电耦合器的输入端是发光二极管,因此,它的输入特性可用发光二极管的伏安特性来表示,如图1b所示;输出端是光敏三极管,因此光敏三极管的伏安特性就是它的输出特性,如图1c所示。由图可见,光电耦合器存在着非线性工作区域,直接用来传输模拟量时精度较差。

图1 光电耦合器结构及输入、输出特性
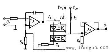
解决方法之一,利用2个具有相同非线性传输特性的光电耦合器,T1和T2,以及2个射极跟随器A1和A2组成,如图2所示。如果T1和T2是同型号同批次的光电耦合器,可以认为他们的非线性传输特性是完全一致的,即K1(I1)=K2(I1),则放大器的电压增益G=Uo/U1=I3R3/I2R2=(R3/R2)[K1(I1)/K2(I1)]=R3/R2。由此可见,利用T1和T2电流传输特性的对称性,利用反馈原理,可以很好的补偿他们原来的非线性。

图2 光电耦合线性电路
另一种模拟量传输的解决方法,就是采用VFC(电压频率转换)方式,如图3所示。现场变送器输出模拟量信号(假设电压信号),电压频率转换器将变送器送来的电压信号转换成脉冲序列,通过光耦隔离后送出。在主机侧,通过一个频率电压转换电路将脉冲序列还原成模拟信号。此时,相当于光耦隔离的是数字量,可以消除光耦非线性的影响。这是一种有效、简单易行的模拟量传输方式。

图3 VFC方式传送信号
当然,也可以选择线性光耦进行设计,如精密线性光耦TIL300,高速线性光耦6N135/6N136。线性光耦一般价格比普通光耦高,但是使用方便,设计简单;随着器件价格的下降,使用线性光耦将是趋势。
全站搜索