
对未使用的触头用“X”表示。

二、电器元件布置图
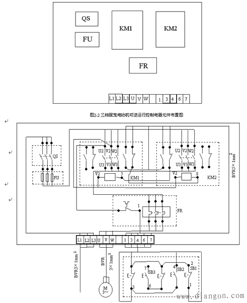
电器元件布置图:表明电气原理图中所有电器元件、电器设备的实际位置,为电气控制设备的制造、安装提供必要的资料。
1、各电器代号应与有关电路图和电器元件清单上所用列的元器件代号相同。
2、体积大的和较重的电器元件应该安装在电气安装板下面,发热元件应安装在电气安装板的上面。
3、经常要维护、检修、调整的电器元件安装位置不宜过高或过低,图中不需要标注尺寸。
三、电气接线图
电气接线图:表明所有电器元件、电器设备联接方式,为电气控制设备的安装和检修调试提供必要的资料。
绘制原则:1、接线图中,各电器元件的相对位置与实际安装的相对位置一致,且所有部件都画在一个按实际尺寸以统一比例绘制的虚线框中。
3、各电器元件的接线端子都有与电气原理图中的相一致编号。
4、接线图中应详细地标明配线用的导线型号、规格、标称面积及连接导线的根数。标明所穿管子的型号、规格等,并标明电源的引入点。
5、安装在电气板内外的电器元件之间需通过接线端子板连线。

图中还标注出连接导线的型号、根数、截面积,如BVR5×1mm2为聚氯乙烯绝缘软电线、5根导线、导线截面积为―平方毫米。
全站搜索