2022-07-17 11:25:07 | 人围观 | 评论:
今天为大家介绍一项国家发明授权专利——磁流量计。该专利由克洛纳测量技术有限公司申请,并于2016年6月22日获得授权公告。
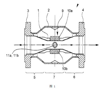
本发明涉及一种用于测量流动介质(flowing medium)的流量(flow)的磁流量计,该磁流量计具有:测量管;用于生成磁场的单元,该单元生成至少部分地渗透测量管的磁场;两个电极,用于检测在流动介质中感应的测量电压,以及壳,合并测量管,优选地也合并用于生成磁场的单元和电极,其中测量管具有在它的长度上改变的横截面,并且优选地,在测量管的中间段中的横截面比在测量管的开始和末端小,优选地,测量管的横截面在它的中间段中为矩形或者方形,并且其中壳优选地具有圆形横截面。
用于测量流动介质的流量的磁流量计,其基本原理回溯到法拉第,其于1832年提出将电动力感应的原理用于测量流动介质的流速。根据法拉第的感应定律,在如下流动介质中产生与流向垂直并且与磁场垂直的电场强度,该流动介质将电荷载流子(charge carrier)随它一起携带并且流过磁场。磁流量计使用法拉第的感应原理,因为磁场由用于生成磁场的单元产生,该单元通常具有被供应电流并且至少部分地引入(lead through)测量管的两个磁线圈,其中生成的磁场具有与流向垂直传播(run)的至少一个分量。在磁场内,流动介质的每个体积元(volume element)(流动介质具有在这一体积元中产生的经过流动介质移动的场强并且具有某一数量的电荷载流子)对于可以经由电极测量的测量电压有贡献。
尽管如上文提到的那样已经有数十年并且在几乎不计其数的实施例中广泛已知磁流量计,但是关于磁流量计仍需改进并且改进是可能的。因而本发明的目的是关于其能力来改进介绍中描述的磁流量计,该能力用于也在很不同的流动介质中(特别也在携带具有大尺寸的固体的液体介质中)实现流量测量的相当准确度。
根据本发明设计的磁流量计是首创和本质的,其中测量管的入口段由两段形成,并且在流向方面,第一段具有在流向上增加的横截面,并且第二段具有在流向上减少的横截面。
在已知的磁流量计中,其中测量管具有入口段、出口段和在入口段与出口段之间的测量长度,入口段具有在流向上减少的横截面,并且出口段具有在流向上增加的横截面。对照而言,在根据本发明的磁流量计中,具有第一段的入口段始于在流向上增加的横截面。

在根据本发明的磁流量计中,测量管的入口段的第一段可以按照1:5至1:2的比、优选地按照约1:3的比在输入侧上比在输出侧上具有更小的横截面。具体而言,测量管的入口段的第一段可以在输入侧上具有15mm的直径并且在输出侧上具有25mm的直径。
磁流量计特别适合用于在旋转填充机中用于确定容器(诸如瓶或者罐)的填充水平。它可以位于产品供应与填充阀之间,但是也可以是填充阀的部分。在本申请中,使用可以在其量、密度、浓度上、特别是在它们的粘性、传导率和速率上不同的至少两个流动介质来发生流量测量。具体而言,介质可以包含纤维、粒子、水果或者蔬菜片或者谷物。
全站搜索